00134942_0

ADLR-A


00129301_0

Square diffuser face


00129306_0

With butterfly damper


00129311_0

With connecting frame


00129316_0

With plenum box


00129321_0

Horizontal air discharge


00134942_0
00129301_0
00129306_0
00129311_0
00129316_0
00129321_0
Configure now

Type ADLR

For horizontal radial supply air discharge, with fixed air control blades – aluminium diffuser face

Circular and square ceiling diffusers for radial air discharge, for high comfort levels, ideal integration into suspended ceilings

  • Nominal sizes 1, 2, 3, 4, 5, 6, 7, 8
  • Volume flow rate range 20 – 650 l/s or 72 – 2340 m³/h
  • Circular or square diffuser face
  • Diffuser face made of aluminium with anodised finish
  • For supply and extract air
  • For variable and constant volume flows
  • For suspended continuous plasterboard or grid ceilings
  • High induction results in a rapid reduction of the temperature difference and airflow velocity


Optional equipment and accessories

  • Exposed diffuser face available in RAL CLASSIC colours
  • Horizontal or vertical duct connection
  • Plenum box with cord-operated damper blade and pressure tap

v2.7.1.4
Updating order code
Save configuration
Calculate price
Form
Q
Connection
A
C
AR
ZV
AV
ZH
AH
Damper blade for volume flow rate balancing
M
MN
Accessories
L
Size of diffuser face plate
593
598
618
623
Nominal size
1
2
3
4
5
6
7
8
Surface
P1
S3
Select state colour
Updating technical data
Specification text: ADLR-Q-ZH-M/598x4
Updating specification text

Ceiling diffusers with square or circular diffuser face. Supply air and extract air variants for comfort zones. Diffuser face with fixed air control blades for horizontal radial air discharge. For installation into all types of suspended ceilings. Ready-to-install component which consists of the diffuser face with fixed, concentric air control blades, a diffuser front frame with perimeter seal and connecting frame, a damper blade or a plenum box. Diffuser face suitable for central screw fixing. Spigot suitable for circular ducts to EN 1506 or EN 13180. Sound power level of the air-regenerated noise measured according to EN ISO 5135.

SPECIAL CHARACTERISTICS
- Horizontal radial supply air discharge
- Diffuser face made of aluminium
- For suspended continuous plasterboard or grid ceilings
- Horizontal or vertical duct connection

MATERIALS AND SURFACES
- Diffuser face made of aluminium
- Connecting frame and butterfly damper made of coated sheet steel
- Plenum box made of galvanised sheet steel
- Lip seal made of rubber
- Attachments electrocoated RAL 9005, jet black
- Diffuser face powder-coated RAL 9010, pure white
- P1: Powder-coated, RAL CLASSIC colour

VARIANT
Form: Square
Connection Horizontal, supply air, with plenum box
Damper blade for volume flow rate balancing With
Accessories none
Size of diffuser face plate 598
Nominal size 4
Surface Standard finish powder-coated to RAL 9010 (GE 50%)
Select state colour

PRODUCT DATA
Strategy: Supply air
Volume flow qv 654 m³/h
Distance a 1,2 m
Distance x 0,6 m
Distance h1 1,2 m
Supply air to room air temperature difference ΔtSUP,c -6 K
Room temperature tr,c 26,0 °C
Distance (h 1 + x) l 1,8 m
Effective air velocity veff 5,2 m/s
Throw distance ls 8,4 m
Velocity at h 1 vh1 0,69 m/s
Temperature difference at h1 Δth1 -0,99 K
Velocity at l vl 0,41 m/s
Temperature difference at l Δtl -0,99 K
Thermal output – cooling Φc -1.313 W

Acoustic results
damper blade position open damper blade position 45° damper blade position closed
Δpt [Pa] 37 47 101
LWA [dB(A)] 40 39 43
63Hz [dB] 44 43 42
125Hz [dB] 46 45 45
250Hz [dB] 42 41 42
500Hz [dB] 38 37 39
1kHz [dB] 35 33 38
2kHz [dB] 22 25 35
4kHz [dB] < 15 16 27
8kHz [dB] < 15 < 15 22
LWNC [dB] 33 32 37
LWNR [dB] 35 33 38

Manufacture of the planning: TROX
Type: ADLR-Q-ZH-M/598x4

Show complete text Hide complete text

Application

Application

  • Type ADLR ceiling diffusers are used as supply air or extract air diffusers for comfort zones
  • Attractive design element for building owners and architects with demanding aesthetic requirements
  • Horizontal radial supply air discharge for mixed flow ventilation
  • High induction results in a rapid reduction of the temperature difference and airflow velocity (supply air variant)
  • For variable and constant volume flows
  • For supply air to room air temperature differences from –10 to +10 K
  • For room heights up to 4 m (lower edge of suspended ceiling)
  • For suspended continuous plasterboard or grid ceilings

Special characteristics

  • Horizontal radial supply air discharge
  • Diffuser face made of aluminium
  • For suspended continuous plasterboard or grid ceilings
  • Horizontal or vertical duct connection

Nominal sizes

  • Circular diffuser face: 244, 300, 356, 412, 468, 542, 598, 654
  • Square diffuser face: 593, 598, 618, 623
  • Diffuser: 1, 2, 3, 4, 5, 6, 7, 8

Description

Variant

  • Circular diffuser face
  • Square diffuser face


Connection

  • A: Diffuser face only
  • AR: Vertical duct connection, with connecting frame
  • C: Vertical duct connection with butterfly damper
  • ZV: Vertical duct connection, with plenum box for supply air
  • AV: Vertical duct connection, with plenum box for extract air
  • ZH: Horizontal duct connection, with plenum box for supply air
  • AH: Horizontal duct connection, with plenum box for extract air

Parts and characteristics

  • Circular or square diffuser face with fixed air control blades
  • Diffuser front frame
  • Simple installation of the diffuser face due to central fixing screw with decorative cap

Accessories

  • Standard cross bar
  • Duct cross bar
  • Lip seal

Materials and surfaces

  • Diffuser face made of aluminium
  • Connecting frame and butterfly damper made of coated sheet steel
  • Plenum box made of galvanised sheet steel
  • Lip seal made of rubber
  • Attachments are dip coated RAL 9005, jet black
  • Diffuser face powder-coated RAL 9010, pure white
  • P1: Powder-coated, RAL CLASSIC colour

Standards and guidelines

  • Sound power level of the air-regenerated noise measured according to EN ISO 5135

Maintenance

  • Maintenance-free as construction and materials are not subject to wear
  • Inspection and cleaning to VDI 6022

Technical information

Function, Technical data, Quick sizing, Specification text, Order code

  • Function
  • Technical data
  • Quick sizing
  • Specification text
  • Order code

Functional description

Ceiling diffusers direct the air from air conditioning systems into the room. The resulting airflow induces high levels of room air, thereby rapidly reducing the airflow velocity and the temperature difference between supply air and room air. Ceiling diffusers allow for large volume flow rates. The result is a mixed flow ventilation in comfort zones, with good overall room ventilation, creating only very little turbulence in the occupied zone.

Type ADLR ceiling diffusers have fixed blades. Horizontal air discharge is radial. The supply air to room air temperature difference may range from –10 to +10 K.

To give rooms an aesthetic, uniform look, Type ADLR diffusers may also be used for extract air.

Nominal sizes – circular diffuser face

244, 300, 356, 412, 468, 542, 598, 654 mm

Nominal sizes – square diffuser face

593, 598, 618, 623 mm

Nominal sizes – diffuser

1, 2, 3, 4, 5, 6, 7, 8

Minimum volume flow rate

20 – 230 l/s or 72 – 828 m³/h

Maximum volume flow rate, with LWA ≅ 50 dB(A)

515 – 650 l/s or 1854 – 2340 m³/h

Supply air to room air temperature difference

–10 to +10 K


Quick sizing tables provide a good overview of the volume flow rates and corresponding sound power levels and differential pressures.

The maximum volume flow rates apply to a sound power level of approx. 50 dB (A).

Exact values for all parameters can be determined with our Easy Product Finder design programme.

ADLR-A, ADLR-AR (supply air), sound power level and total differential pressure

Nominal size V Δpt LWA
Nominal size l/s m³/h Pa dB(A)

1

20

72

5

19

1

40

144

20

34

1

55

198

39

42

1

70

252

63

49

2

35

126

3

<15

2

70

252

11

25

2

105

378

26

34

2

140

504

46

42

3

55

198

3

18

3

110

396

12

26

3

165

594

27

36

3

220

792

48

48

4

80

288

3

19

4

160

576

13

29

4

240

864

28

38

4

320

1152

50

47

5

110

396

3

21

5

220

792

13

31

5

330

1188

29

44

5

440

1584

52

63

6

150

540

4

20

6

300

1080

16

36

6

450

1620

36

50

6

600

2160

65

64

7

200

720

5

23

7

367

1320

16

37

7

533

1920

35

51

7

700

2520

60

64

8

230

828

5

25

8

422

1518

15

37

8

613

2208

32

48

8

805

2898

56

60


ADLR-C (supply air), sound power level and total differential pressure

Nominal size V Damper blade position
Nominal size V 45°
Nominal size V Δpt LWA Δpt LWA
Nominal size l/s m³/h Pa dB(A) Pa dB(A)

1

20

72

7

23

32

38

1

35

126

21

35

98

53

1

55

198

52

47

241

68

1

60

216

62

49

287

72

2

35

126

3

<15

13

27

2

70

252

13

26

54

46

2

115

414

36

39

145

64

2

160

576

70

50

280

78

3

55

198

3

18

16

29

3

115

414

15

29

68

51

3

175

630

34

40

158

70

3

235

846

62

50

285

92

4

80

288

3

16

15

31

4

155

558

13

29

58

50

4

235

846

29

40

133

67

4

310

1116

51

50

232

82

5

110

396

4

23

19

35

5

180

648

10

30

51

50

5

250

900

19

37

98

62

5

325

1170

32

50

165

77

6

150

540

5

19

9

34

6

240

864

12

31

23

47

6

335

1206

23

41

46

59

6

435

1566

38

50

121

71

7

200

720

7

26

14

35

7

285

1026

13

35

29

46

7

370

1332

22

43

49

55

7

455

1638

34

50

75

64

8

230

828

8

28

12

33

8

325

1170

16

36

24

42

8

420

1512

27

44

41

50

8

515

1854

40

50

61

57


ADLR-ZH (supply air), sound power level and total differential pressure

Nominal size V Damper blade position
Nominal size V 45° 90°
Nominal size V Δpt LWA Δpt LWA Δpt LWA
Nominal size l/s m³/h Pa dB(A) Pa dB(A) Pa dB(A)

1

20

72

7

19

9

15

19

17

1

35

126

21

30

27

29

58

30

1

55

198

51

41

67

41

144

43

1

75

270

94

50

125

50

268

53

2

35

126

7

17

10

18

22

21

2

65

234

25

31

33

32

74

35

2

100

360

58

42

79

43

176

47

2

130

468

98

51

134

52

298

56

3

55

198

7

18

8

19

21

21

3

95

342

21

29

24

30

62

35

3

145

522

49

41

56

41

144

48

3

190

684

85

50

97

50

247

57

4

80

288

7

21

9

18

20

21

4

135

486

20

30

26

29

56

34

4

190

684

40

39

51

39

110

43

4

250

900

69

50

89

49

191

52

5

110

396

10

22

15

22

36

28

5

175

630

25

32

37

35

92

39

5

240

864

47

41

70

45

173

49

5

305

1098

76

50

113

54

279

59

6

150

540

9

23

12

25

26

26

6

230

828

21

31

29

34

62

39

6

310

1116

37

40

53

43

113

49

6

400

1440

62

50

88

52

188

60

7

200

720

14

25

20

28

40

36

7

290

1044

29

34

42

38

84

46

7

380

1368

49

43

72

47

144

56

7

465

1674

74

50

108

55

215

65

8

230

828

15

28

22

29

59

41

8

325

1170

31

36

44

39

118

50

8

420

1512

51

44

74

48

197

57

8

515

1854

77

50

112

55

295

65


ADLR-ZV (supply air), sound power level and total differential pressure

Nominal size V Damper blade position
Nominal size V 45° 90°
Nominal size V Δpt LWA Δpt LWA Δpt LWA
Nominal size l/s m³/h Pa dB(A) Pa dB(A) Pa dB(A)

1

20

72

6

15

9

18

20

16

1

35

126

20

28

28

31

60

30

1

55

198

49

41

69

43

148

43

1

75

270

90

50

129

53

275

53

2

35

126

6

<15

9

19

21

19

2

65

234

22

29

32

33

74

33

2

100

360

53

41

76

45

175

46

2

130

468

89

50

128

53

295

56

3

55

198

7

<15

10

17

21

21

3

100

360

22

29

32

32

71

34

3

150

540

49

40

72

44

160

46

3

200

720

87

50

127

54

284

56

4

80

288

6

16

9

19

21

20

4

140

504

20

29

27

31

64

33

4

205

738

42

39

58

43

137

44

4

270

972

73

50

101

52

237

53

5

110

396

8

22

14

25

37

26

5

175

630

22

32

34

36

92

38

5

240

864

40

41

65

46

174

49

5

310

1116

67

50

108

55

290

59

6

150

540

8

25

11

24

25

24

6

235

846

20

34

27

35

61

35

6

320

1152

37

42

51

44

113

45

6

410

1476

60

50

83

53

185

55

7

200

720

11

28

17

29

39

30

7

290

1044

22

36

36

39

83

41

7

380

1368

38

44

62

48

142

50

7

470

1692

59

50

94

56

217

58

8

230

828

12

28

19

31

53

33

8

310

1116

22

35

34

39

96

41

8

390

1404

34

43

54

46

152

49

8

470

1692

50

51

79

52

221

56


Ceiling diffusers with square or circular diffuser face. Supply air and extract air variants for comfort zones. Diffuser face with fixed air control blades for horizontal radial air discharge. For installation into all types of suspended ceilings.

Ready-to-install component which consists of the diffuser face with fixed, concentric air control blades, a diffuser front frame with perimeter seal and connecting frame, a damper blade or a plenum box.

Diffuser face suitable for central screw fixing.

Spigot suitable for circular ducts to EN 1506 or EN 13180.

Sound power level of the air-regenerated noise measured according to EN ISO 5135.

Special characteristics

  • Horizontal radial supply air discharge
  • Diffuser face made of aluminium
  • For suspended continuous plasterboard or grid ceilings
  • Horizontal or vertical duct connection

Materials and surfaces

  • Diffuser face made of aluminium
  • Connecting frame and butterfly damper made of coated sheet steel
  • Plenum box made of galvanised sheet steel
  • Lip seal made of rubber
  • Attachments are dip coated RAL 9005, jet black
  • Diffuser face powder-coated RAL 9010, pure white
  • P1: Powder-coated, RAL CLASSIC colour

Technical data

  • Nominal sizes – circular diffuser face: 244, 300, 356, 412, 468, 542, 598, 654 mm
  • Nominal sizes – square diffuser face: 593, 598, 618, 623 mm
  • Nominal sizes – diffuser: 1, 2, 3, 4, 5, 6, 7, 8
  • Minimum volume flow rate: 20 – 230 l/s or 72 – 828 m³/h
  • Maximum volume flow rate, with LWA ≅ 50 dB(A): 515 – 650 l/s or 1854 – 2340 m³/h
  • Supply air to room air temperature difference: –10 to +15 K

Sizing data

  • V _______________________ [m³/h]
  • Δpt _______________________ [Pa]

Air-regenerated noise

  • LWA _______________________ [dB(A)]

00100708_0

 Type
ADLR       Ceiling diffuser

 Construction style
       No entry: circular
Q       Square

 Connection
A       Diffuser face only
AR       Vertical, with connecting frame
C       Vertical, with butterfly damper
ZV       Vertical, supply air, with plenum box
AV       Vertical, extract air, with plenum box
ZH       Horizontal, supply air, with plenum box
AH       Horizontal, extract air, with plenum box

 Damper blade for volume flow rate balancing
       No entry: none
M       With (only for connections ZV, AV, ZH, AH)
MN       With cords and pressure tap (only for connections ZH, AH)

 

 Accessories
       No entry: none
L       With lip seal (only for connections ZV, AV, ZH, AH)

 Nominal size
       ADLR (circular)
1 to 8
       ADLR-Q (square)
593 × 1 to 7
598 × 1 to 7
618 × 1 to 8
623 × 1 to 8
Size of diffuser face plate ×       nominal size

 Exposed surface
       No entry: powder-coated RAL 9010, pure white
P1       Powder-coated, specify RAL CLASSIC colour

       Gloss level
       RAL 9010 50 %
       RAL 9006 30 %
       All other RAL colours 70 %

Order example: ADLR-Q-ZH-M-L/618×4

Construction style

Square construction

Construction

Plenum box for supply air, horizontal connection

Damper blade for volume flow rate balancing

With

Accessories

With lip seal

Nominal size

618 × 4

Exposed surface

RAL 9010, pure white, gloss level 50 %


 

Variants, Dimensions and weight, Product details

  • Variants
  • Dimensions and weight
  • Product details

ADLR-A

Variant

  • Ceiling diffuser with circular diffuser face

Nominal sizes

  • Diffuser face: 244, 300, 356, 412, 468, 542, 598, 654
  • Diffuser: 1, 2, 3, 4, 5, 6, 7, 8

Parts and characteristics

  • Circular diffuser face
  • Simple installation of the diffuser face due to central fixing screw

ADLR-AR

Variant

  • Ceiling diffuser with circular diffuser face
  • With connecting frame

Nominal sizes

  • Diffuser face: 244, 300, 356, 412, 468, 542, 598, 654
  • Diffuser: 1, 2, 3, 4, 5, 6, 7, 8

Parts and characteristics

  • Circular diffuser face
  • Connecting frame for installation of the diffuser into vertical ducts
  • Simple installation of the diffuser face due to central fixing screw with decorative cap

ADLR-C

Variant

  • Ceiling diffuser with circular diffuser face
  • With connecting frame
  • With butterfly damper

Nominal sizes

  • Diffuser face: 244, 300, 356, 412, 468, 542, 598, 654
  • Diffuser: 1, 2, 3, 4, 5, 6, 7, 8

Parts and characteristics

  • Circular diffuser face
  • Connecting frame for installation of the diffuser into vertical ducts
  • Butterfly damper for volume flow rate balancing
  • Simple installation of the diffuser face due to central fixing screw with decorative cap

ADLR-*H

Designed for high comfort

Together with renowned designers and architects we have developed ceiling, wall, staircase and floor diffusers and grilles that are not only aesthetic design elements, but also meet demanding ventilation and acoustic requirements.

Variant

  • Ceiling diffuser with circular diffuser face
  • With plenum box for horizontal duct connection

Nominal sizes

  • Diffuser face: 244, 300, 356, 412, 468, 542, 598, 654
  • Diffuser: 1, 2, 3, 4, 5, 6, 7, 8

Parts and characteristics

  • Circular or square diffuser face with fixed air control blades
  • Diffuser front frame
  • Simple installation of the diffuser face due to central fixing screw with decorative cap

Construction features

  • Spigot suitable for circular ducts to EN 1506 or EN 13180
  • Spigot with groove for lip seal (if accessory lip seal has been ordered)

ADLR-*V

Designed for high comfort

Together with renowned designers and architects we have developed ceiling, wall, staircase and floor diffusers and grilles that are not only aesthetic design elements, but also meet demanding ventilation and acoustic requirements.

Variant

  • Ceiling diffuser with circular diffuser face
  • With plenum box for vertical duct connection

Nominal sizes

  • Diffuser face: 244, 300, 356, 412, 468, 542, 598, 654
  • Diffuser: 1, 2, 3, 4, 5, 6, 7, 8

Parts and characteristics

  • Circular or square diffuser face with fixed air control blades
  • Diffuser front frame
  • Simple installation of the diffuser face due to central fixing screw with decorative cap

Construction features

  • Spigot suitable for circular ducts to EN 1506 or EN 13180
  • Spigot with groove for lip seal (if accessory lip seal has been ordered)

ADLR-Q-A

Designed for high comfort

Together with renowned designers and architects we have developed ceiling, wall, staircase and floor diffusers and grilles that are not only aesthetic design elements, but also meet demanding ventilation and acoustic requirements.

Variant

  • Ceiling diffuser with square diffuser face

Nominal sizes

  • Diffuser face: 593, 598, 618, 623
  • Diffuser: 1, 2, 3, 4, 5, 6, 7, 8

Parts and characteristics

  • Circular or square diffuser face with fixed air control blades
  • Diffuser front frame
  • Simple installation of the diffuser face due to central fixing screw with decorative cap

ADLR-Q-AR

Designed for high comfort

Together with renowned designers and architects we have developed ceiling, wall, staircase and floor diffusers and grilles that are not only aesthetic design elements, but also meet demanding ventilation and acoustic requirements.

Variant

  • Ceiling diffuser with square diffuser face
  • With connecting frame

Nominal sizes

  • Diffuser face: 593, 598, 618, 623
  • Diffuser: 1, 2, 3, 4, 5, 6, 7, 8

Parts and characteristics

  • Circular or square diffuser face with fixed air control blades
  • Diffuser front frame
  • Simple installation of the diffuser face due to central fixing screw with decorative cap

ADLR-Q-C

Designed for high comfort

Together with renowned designers and architects we have developed ceiling, wall, staircase and floor diffusers and grilles that are not only aesthetic design elements, but also meet demanding ventilation and acoustic requirements.

Variant

  • Ceiling diffuser with square diffuser face
  • With connecting frame
  • With butterfly damper

Nominal sizes

  • Diffuser face: 593, 598, 618, 623
  • Diffuser: 1, 2, 3, 4, 5, 6, 7, 8

Parts and characteristics

  • Circular or square diffuser face with fixed air control blades
  • Diffuser front frame
  • Simple installation of the diffuser face due to central fixing screw with decorative cap

ADLR-Q-*H

Designed for high comfort

Together with renowned designers and architects we have developed ceiling, wall, staircase and floor diffusers and grilles that are not only aesthetic design elements, but also meet demanding ventilation and acoustic requirements.

Variant

  • Ceiling diffuser with square diffuser face
  • With plenum box for horizontal duct connection

Nominal sizes

  • Diffuser face: 593, 598, 618, 623
  • Diffuser: 1, 2, 3, 4, 5, 6, 7, 8

Parts and characteristics

  • Circular or square diffuser face with fixed air control blades
  • Diffuser front frame
  • Simple installation of the diffuser face due to central fixing screw with decorative cap

Construction features

  • Spigot suitable for circular ducts to EN 1506 or EN 13180
  • Spigot with groove for lip seal (if accessory lip seal has been ordered)

ADLR-Q-*V

Designed for high comfort

Together with renowned designers and architects we have developed ceiling, wall, staircase and floor diffusers and grilles that are not only aesthetic design elements, but also meet demanding ventilation and acoustic requirements.

Variant

  • Ceiling diffuser with square diffuser face
  • With plenum box for vertical duct connection

Nominal sizes

  • Diffuser face: 593, 598, 618, 623
  • Diffuser: 1, 2, 3, 4, 5, 6, 7, 8

Parts and characteristics

  • Circular or square diffuser face with fixed air control blades
  • Diffuser front frame
  • Simple installation of the diffuser face due to central fixing screw with decorative cap

Construction features

  • Spigot suitable for circular ducts to EN 1506 or EN 13180
  • Spigot with groove for lip seal (if accessory lip seal has been ordered)

ADLR-A

Nominal size
ØD1
mm
H1
mm
H2
mm
ØD
mm
m
kg
1 244 6 29 137 0.2
2 300 6 29 193 0.2
3 356 6 29 249 0.3
4 412 6 29 305 0.4
5 468 6 29 361 0.5
6 542 6 29 417 0.7
7 598 6 29 473 0.9
8 654 6 29 529 1.1


ADLR-AR

Nominal size
ØD1
mm
H1
mm
H2
mm
ØD
mm
m
kg
1 244 6 54 141 0.4
2 300 6 54 197 0.4
3 356 6 54 253 0.6
4 412 6 54 309 0.7
5 468 6 54 365 0.9
6 542 6 54 421 1.1
7 598 6 54 477 1.4
8 654 6 54 523 1.6


ADLR-C

Nominal size
ØD1
mm
H1
mm
H2
mm
ØD
mm
m
kg
1 244 6 54 141 0.7
2 300 6 54 197 1.0
3 356 6 54 253 1.3
4 412 6 54 309 1.7
5 468 6 54 365 2.1
6 542 6 54 421 2.7
7 598 6 54 477 3.1
8 654 6 54 523 3.7


ADLR-*H

Nominal size
ØD1
mm
H1
mm
□Q3
mm
H3
mm
ØD4
mm
H4
mm
ØD
mm
A
mm
C
mm
Plenum box
m
kg
1 244 6 266 255 202 220 123 161 48 AK-Uni-019 3.1
2 300 6 290 285 258 250 158 174 50 AK-Uni-020 3.7
3 356 6 372 330 314 295 198 199 50 AK-Uni-021 5.5
4 412 6 476 380 362 345 248 224 48 AK-Uni-022 8.2
5 468 6 476 380 426 345 248 224 48 AK-Uni-023 8.1
6 542 6 567 445 482 410 313 257 50 AK-Uni-024 11.2
7 598 6 590 445 578 410 313 257 50 AK-Uni-025 11.7
8 654 6 615 445 590 410 313 257 50 AK-Uni-026 12.5

Weights apply to the supply air variant


ADLR-*V

Nominal size
ØD1
mm
H1
mm
ØD3
mm
H3
mm
ØD
mm
C
mm
m
kg
1 244 6 202 227 123 50 1.7
2 300 6 258 227 158 50 2.2
3 356 6 314 227 198 50 3.0
4 412 6 370 261 248 50 3.9
5 468 6 426 261 248 50 4.7
6 542 6 482 292 313 50 5.8
7 598 6 538 292 313 50 6.9
8 654 6 594 292 313 50 8.1

Weights apply to the supply air variant


ADLR-Q-A

Nominal size
593 × ...
□Q1
mm
598 × ...
□Q1
mm
618 × ...
□Q1
mm
623 × ...
□Q1
mm
H1
mm
H2
mm
ØD
mm
m
kg
... × 1 593 598 618 623 6 29 137 1.3
... × 2 593 598 618 623 6 29 193 1.3
... × 3 593 598 618 623 6 29 249 1.4
... × 4 593 598 618 623 6 29 305 1.5
... × 5 593 598 618 623 6 29 361 1.6
... × 6 593 598 618 623 6 29 417 1.8
... × 7 593 598 618 623 6 29 473 2.0
... × 8 593 598 618 623 6 29 529 2.2

Weights apply to the supply air variant


ADLR-Q-AR

Nominal size
593 × ...
□Q1
mm
598 × ...
□Q1
mm
618 × ...
□Q1
mm
623 × ...
□Q1
mm
H1
mm
H2
mm
ØD
mm
m
kg
... × 1 593 598 618 623 6 54 141 1.5
... × 2 593 598 618 623 6 54 197 1.5
... × 3 593 598 618 623 6 54 253 1.7
... × 4 593 598 618 623 6 54 309 1.8
... × 5 593 598 618 623 6 54 365 1.9
... × 6 593 598 618 623 6 54 421 2.2
... × 7 593 598 618 623 6 54 477 2.4
... × 8 593 598 618 623 6 54 523 2.7

Weights apply to the supply air variant


ADLR-Q-C

Nominal size
593 × ...
□Q1
mm
598 × ...
□Q1
mm
618 × ...
□Q1
mm
623 × ...
□Q1
mm
H1
mm
H2
mm
ØD
mm
m
kg
... × 1 593 598 618 623 6 54 141 1.8
... × 2 593 598 618 623 6 54 197 2.1
... × 3 593 598 618 623 6 54 253 2.5
... × 4 593 598 618 623 6 54 309 2.9
... × 5 593 598 618 623 6 54 365 3.3
... × 6 593 598 618 623 6 54 421 4.0
... × 7 593 598 618 623 6 54 477 4.7
... × 8 593 598 618 623 6 54 523 5.4

Weights apply to the supply air variant


ADLR-Q-*H

Nominal size
593 × ...
□Q1
mm
598 × ...
□Q1
mm
618 × ...
□Q1
mm
623 × ...
□Q1
mm
H1
mm
□Q3
mm
H3
mm
ØD4
mm
H4
mm
ØD
mm
A
mm
C
mm
Plenum box
m
kg
... × 1 593 598 618 623 6 266 255 202 220 123 161 48 AK-Uni-019 4.2
... × 2 593 598 618 623 6 290 285 258 250 158 174 50 AK-Uni-020 4.8
... × 3 593 598 618 623 6 372 330 314 295 198 199 50 AK-Uni-021 6.6
... × 4 593 598 618 623 6 476 380 362 345 248 224 48 AK-Uni-022 9.3
... × 5 593 598 618 623 6 476 380 426 345 248 224 48 AK-Uni-023 9.2
... × 6 593 598 618 623 6 567 445 482 410 313 257 50 AK-Uni-024 12.3
... × 7 593 598 618 623 6 590 445 578 410 313 257 50 AK-Uni-025 12.8
... × 8 593 598 618 623 6 615 445 590 410 313 257 50 AK-Uni-026 13.6

□Q1: 593, 598, 618, 623


ADLR-Q-*V

Nominal size
593 × ...
□Q1
mm
598 × ...
□Q1
mm
618 × ...
□Q1
mm
623 × ...
□Q1
mm
H1
mm
ØD3
mm
H3
mm
ØD
mm
C
mm
m
kg
... × 1 593 598 618 623 6 202 227 123 50 2.8
... × 2 593 598 618 623 6 258 227 158 50 3.3
... × 3 593 598 618 623 6 314 227 198 50 4.1
... × 4 593 598 618 623 6 370 261 248 50 5.0
... × 5 593 598 618 623 6 426 261 248 50 5.8
... × 6 593 598 618 623 6 482 292 313 50 6.9
... × 7 593 598 618 623 6 538 292 313 50 8.0
... × 8 593 598 618 623 6 594 292 313 50 9.2

□Q1: 593, 598, 618, 623


ADLR

Nominal size
ØD1
mm
ØD2
mm
Aeff

1 244 192 0.0066
2 300 248 0.0161
3 356 304 0.0257
4 412 360 0.0349
5 468 416 0.0473
6 542 472 0.0544
7 598 528 0.0691
8 654 584 0.0843


ADLR-Q

Nominal size
ØD2
mm
Aeff

... × 1 192 0.0066
... × 2 248 0.0161
... × 3 304 0.0257
... × 4 360 0.0349
... × 5 416 0.0473
... × 6 472 0.0544
... × 7 528 0.0691
... × 8 584 0.0843

□Q1: 593, 598, 618, 623


Installation examples, Installation details, Commissioning, Basic information and nomenclature

  • Installation examples
  • Installation details
  • Commissioning
  • Basic information and nomenclature
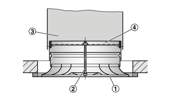
Installation in continuous ceilings 00104903_0.


Installation and commissioning

  • Preferably for rooms with a clear height up to 4.0 m
  • Flush ceiling installation
  • Horizontal or vertical duct connection
  • If necessary, carry out volume flow rate balancing with the damper blade


These are only schematic diagrams to illustrate installation details.

Volume flow rate balancing

When several diffusers are connected to just one volume flow controller, it may be necessary to balance the volume flow rates.

  • Ceiling diffusers with universal plenum box and damper blade (variant -M): The diffuser face can be removed to access the damper blade; the damper blade can then be set to any position between 0 and 90°
  • Ceiling diffusers with universal plenum box, damper blade and pressure tap (variant -MN): The diffuser face need not be removed since the damper blade can be set with two cords (white and green).

Volume flow rate measurement

Ceiling diffusers with universal plenum box, damper blade and pressure tap (variant -MN) allow for volume flow rate balancing even with the diffuser face in place.

  • Connect the measuring tube to the digital manometer
  • Read the effective pressure
  • Read the volume flow rate off the characteristic or calculate it
  • If necessary, adjust the damper blade position with the cords


A characteristic is included with each AK-Uni plenum box.

Principal dimensions

ØD [mm]

Outer diameter of the spigot

ØD₁ [mm]

Outer diameter of a circular diffuser face

ØD₂ [mm]

Diameter of a circular diffuser face style

ØD₃ [mm]

Diameter of a circular plenum box

□Q₁ [mm]

Outer diameter of a square diffuser face

□Q₂ [mm]

Dimensions of a square diffuser face style

□Q₃ [mm]

Dimensions of a square plenum box

H₁ [mm]

Distance (height) from the lower edge of the suspended ceiling to the lower edge of the diffuser face

H₂ [mm]

Height of a ceiling diffuser, from the lower edge of the suspended ceiling to the upper edge of the spigot

H₃ [mm]

Height of a ceiling diffuser with plenum box, from the lower edge of the suspended ceiling to the upper edge of the plenum box or of the spigot

A [mm]

Position of the spigot, defined by the distance of the spigot centre line to the lower edge of the suspended ceiling

C [mm]

Length of the spigot

m [kg]

Weight

Nomenclature

LWA [dB(A)]

A-weighted sound power level of air-regenerated noise

V [m³/h] and [l/s]

Volume flow rate

Δtz [K]

Supply air to room air temperature difference, i.e. supply air temperature minus room temperature

Δpt [Pa]

Total differential pressure

Aeff [m²]

Effective air discharge area


All sound power levels are based on 1 pW.

Downloads

product information

certificates

operation manuals

Share page

Recommend this page

Recommend this page by sending a link by mail.

Fields marked with an (*) are required fields.

Share page

Thank you for your recommendation!

Your recommendation has been sent and should arrive shortly.

Contact

We are here for you

Visual contact Visual contact

Please specify your message and type of request
Tel.: +49 (0)2845 / 202-0 | Fax: +49 (0)2845/202-265

Fields marked with an (*) are required fields.

Contact

Thank you for your message!

Visual contact Visual contact

Your message is send and will be processed shortly.
Our department for Service-Requests will contact you asap.
For general question regarding products or services you can also call:
Tel.: +49 (0)2845 / 202-0 | Fax: +49 (0)2845/202-265

Contact

We are here for you

Visual contact Visual contact

Please specify your message and type of request
Tel.: +49 (0)2845 / 202-0 | Fax: +49 (0)2845/202-265

Attachment (max. 10MB)

Fields marked with an (*) are required fields.

Contact

Thank you for your message!

Visual contact Visual contact

Your message is send and will be processed shortly.
Our department for Service-Requests will contact you asap.
For general question regarding products or services you can also call:
Tel.: +49 (0)2845 / 202-0 | Fax: +49 (0)2845/202-265